Product Summary
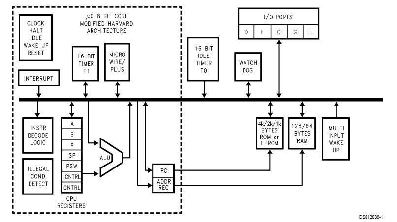
The COP8SAA728N9 is an 8-Bit CMOS ROM Based and One-Time Programmable(OTP) Microcontroller with 1k to 4k Memory, Power On Reset, and Very Small Packaging. The COP8SAA728N9 is suited for low cost applications requiring a full featured controller, low EMI, and POR. 100% form-fit-function compatible OTP versions of the COP8SAA728N9 are available with 1k, 2k, and 4k memory, and in a variety of packages including 28-pin CSP. Erasable windowed versions are available for use with a range of COP8 software and hardware development tools.
Parametrics
COP8SAA728N9 absolute maximum ratings: (1)Supply Voltage (VCC): 7V; (2)Voltage at Any Pin: -0.6V to VCC +0.6V; (3)ESD Protection Level: 2 kV(Human Body Model); (4)Total Current into VCC Pin (Source): 80 mA; (5)Total Current out of GND Pin (Sink): 100 mA; (6)Storage Temperature Range: -65℃ to +140℃.
Features
COP8SAA728N9 features: (1)Low cost 8-bit OTP microcontroller; (2)OTP program space with read/write protection (fully secured); (3)Quiet Design (low radiated emissions); (4)Multi-Input Wakeup pins with optional interrupts(4 to 8 pins); (5)8 bytes of user storage space in EPROM; (6)User selectable clock options; (7)Internal Power-On Reset—user selectable; (8)WATCHDOG and Clock Monitor Logic—user selectable; (9)Up to 12 high current outputs.
Diagrams

| Image | Part No | Mfg | Description | ![]() |
Pricing (USD) |
Quantity | ||||
|---|---|---|---|---|---|---|---|---|---|---|
![]() |
![]() COP8SAA728N9 |
![]() National Semiconductor |
![]() IC MCU OTP 8BIT 1K 28DIP |
![]() Data Sheet |
![]() Negotiable |
|
||||
| Image | Part No | Mfg | Description | ![]() |
Pricing (USD) |
Quantity | ||||
![]() |
![]() COP820CJ |
![]() Other |
![]() |
![]() Data Sheet |
![]() Negotiable |
|
||||
![]() |
![]() COP822CJ |
![]() Other |
![]() |
![]() Data Sheet |
![]() Negotiable |
|
||||
![]() |
![]() COP823CJ |
![]() Other |
![]() |
![]() Data Sheet |
![]() Negotiable |
|
||||
![]() |
![]() COP824CJ |
![]() Other |
![]() |
![]() Data Sheet |
![]() Negotiable |
|
||||
![]() |
![]() COP840CJ |
![]() Other |
![]() |
![]() Data Sheet |
![]() Negotiable |
|
||||
![]() |
![]() COP8780C |
![]() Other |
![]() |
![]() Data Sheet |
![]() Negotiable |
|
||||
(China (Mainland))










