Product Summary
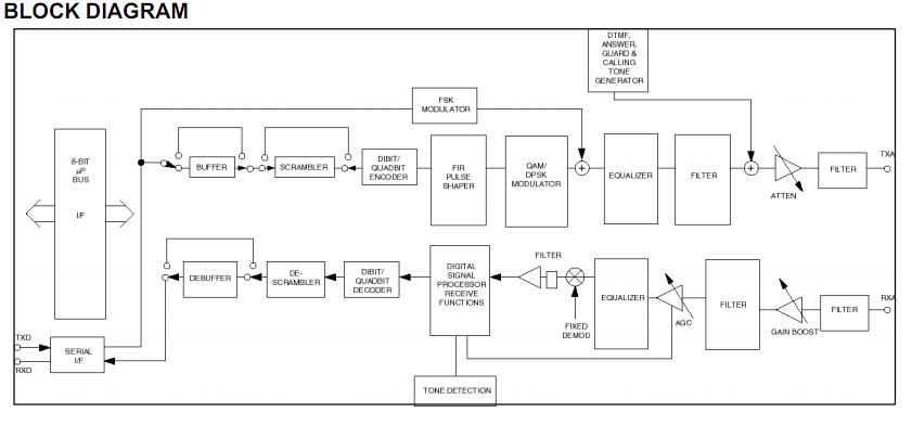
The 73K224L-28IH is a highly integrated single-chip modem IC which provides the functions needed to construct a V.22bis compatible modem, capable of 2400 bit/s full-duplex operation over dial-up lines. The 73K224L-28IH offers excellent performance and a high level of functional integration in a single 28-pin DIP and 44-pin TQFP package. This device 73K224L-28IH supports V.22bis, V.22, V.21, Bell 212A and Bell 103 modes of operation, allowing both synchronous and asynchronous communication. The 73K224L-28IH is ideal for use in either free-standing or integral system modem products where full-duplex 2400 bit/s data communications over the 2-wire switched telephone network is desired. Its high functionality, low power consumption, and efficient packaging simplify design requirements and increase system reliability.
Parametrics
73K224L-28IH absolute maximum ratings: (1)VDD Supply Voltage: 7V; (2)Storage Temperature: -65 to 150℃; (3)Soldering Temperature (10 sec.): 260℃; (4)Applied Voltage: -0.3 to VDD+0.3V.
Features
73K224L-28IH features: (1)One-chip multi-mode V.22bis/V.22/V.21 and Bell 212A/103 compatible modem data pump; (2)FSK (300 bit/s), DPSK (600, 1200 bit/s), or QAM (2400 bit/s) encoding; (3)Pin and software compatible with other TDK Semiconductor Corporation K-Series 1-chip modems; (4)Interfaces directly with standard microcontrollers (80C51 typical); (5)Parallel microcontroller bus for modem control and status monitoring functions; (6)Selectable asynch/synch with internal buffer/debuffer and scrambler/descrambler functions; (7)All synchronous and asynchronous operating modes (internal, external, slave); (8)Adaptive equalization for optimum performance over all lines; (9)Programmable transmit attenuation (16 dB, 1 dB steps), selectable receive boost (+18 dB); (10)Call progress, carrier, answer tone, unscrambled mark, S1, and signal quality monitors; (11)DTMF, answer and guard tone generators; (12)Test modes available: ALB, DL, RDL, Mark, Space, Alternating bit, S1 pattern; (13)CMOS technology for low power consumption (typically 100 mW @ 5V) with power-down mode (15 mW @ 5V); (14)TTL and CMOS compatible inputs and outputs.
Diagrams

![]() |
![]() 73K222AL |
![]() Other |
![]() |
![]() Data Sheet |
![]() Negotiable |
|
||||
![]() |
![]() 73K222AL-IH |
![]() Other |
![]() |
![]() Data Sheet |
![]() Negotiable |
|
||||
![]() |
![]() 73K222AL-IH/F |
![]() Maxim Integrated Products |
![]() Telecom ICs Single Chip Modem /103 Modem Data Pump |
![]() Data Sheet |
![]() Negotiable |
|
||||
![]() |
![]() 73K222AL-IHR/F |
![]() Maxim Integrated Products |
![]() Telecom ICs Single Chip Modem /103 Modem Data Pump |
![]() Data Sheet |
![]() Negotiable |
|
||||
![]() |
![]() 73K222AU |
![]() Other |
![]() |
![]() Data Sheet |
![]() Negotiable |
|
||||
![]() |
![]() 73K222BL |
![]() Other |
![]() |
![]() Data Sheet |
![]() Negotiable |
|
||||
(China (Mainland))









